- 델, CES 앞서 초고화질 5K 모니터와 다양한 라인업 공개
- 지혜수 기자 2021.01.08
- [일요주간 = 지혜수 기자] 미국의 PC 전문 제조 브랜드 델(Dell)은세계 최대 전자·IT 전시회 'CES 2021'에 앞서새로운 컴퓨터 모니터 라인업을 선보였고, 이 라인업에는 델에서 처음으로 만든 커브드 40인치 초고화질 5K ...
- 서울과학종합대학원, 중국 iFLYTEK과 'AI 고급 인재 양성' 전략적 제휴
- 조무정 기자 2021.01.08
- [일요주간 = 조무정 기자] 서울과학종합대학원(이하 aSSIST, 총장 김태현)이 중국의 인공지능(AI) 기업과 손을 잡고 인재양성에 나선다. aSSIST는 중국의 대표적인 AI 기업 아이플라이텍(iFLYTEK, 집행총재 우샤오루)과 ...
- 코로나19 시대 ‘집콕' 하면서 핸드폰으로 용돈 모을 수 있는 앱 ‘브링인' 출시
- 조무정 기자 2021.01.08
- [일요주간 = 조무정 기자] 신종 코로나바이러스 감염증(코로나19)으로 지친 마음에 힐링을 주고 쏠쏠하게 용돈을 벌 수 있는 앱이 출시됐다.스타트업 기업 블록베이스는 코로나19 시대를 이겨낼 수 있는 슬기로운 앱 ‘브링인’을 최근 출 ...
- 삼성 퍼스트 룩 2021, '스크린 포 올' 시대에 맞는 신기술과 TV 제품 선보여
- 지혜수 기자 2021.01.07
- [일요주간 = 지혜수 기자]삼성전자는 TV 관련 신기술과 신제품을 선보이는 '삼성 퍼스트 룩 2021' 행사를 오늘 새벽 온라인으로 성황리에 개최했다.삼성전자는 사람 중심의 기술을 강조한 '스크린 포 올(Screens for All) ...
- LG전자, 美데이터 분석업체 '알폰소' 인수
- 이수근 기자 2021.01.07
- [일요주간 = 이수근 기자]LG전자는 데이터 분석 전문 업체‘알폰소(Alphonso Inc.)’를인수하며 TV사업 포트폴리오 다변화의 초석을 마련할 예정이라고 전했다.LG전자에 따르면, 미국 실리콘밸리에 본사를 둔 TV 광고·콘텐츠 ...
- 삼성전자, 'CES 2021' 사내·외 육성 스타트업 최다 참가 지원
- 노현주 기자 2021.01.06
- [일요주간 = 노현주 기자]삼성전자는 11일부터 14일(미국 현지 시간)까지 온라인으로 진행되는 세계 최대 전자 전시회 'CES 2021'에 국내 스타트업 참여를 지원했다고 전했다.삼성전자에 따르면, 임직원 대상 사내 벤처 육성 프로 ...
- 소니코리아, 이미지센서 기반 자율주행을 위해 오토노머스에이투지와 협약
- 지혜수 기자 2021.01.06
- [일요주간 = 지혜수 기자] 소니코리아는 애플리케이션 및 디바이스 사업부가 국내 자율주행 솔루션 개발 기업 오토노머스에이투지와 업무 협약을 체결했다. 소니코리아와 오토노머스에이투지는 소니의 최신 차량용 이미지센서를 활용한 자율 주행 ...
- 고독스, 초소형 경량의 플래시 'AD 100Pro' 선보여
- 지혜수 기자 2021.01.05
- [일요주간 = 지혜수 기자] 사진 관련 장비 제조 브랜드 ' 고독스(Godox)'는 초소형 경량 디자인의 'AD100Pro 포켓 플래시'를 선보였다.AD100Pro 포켓 플래시는고독스 AD100 시리즈의 특징과 함께 고독스 라디오 시 ...
- 이동통신사와 카카오, 네이버, 은행 등 인증시장 앞다퉈 경쟁...
- 이수근 기자 2021.01.05
- [일요주간 = 이수근 기자] 지난 연말 전자서명법 개정안이 시행되면서, 공인인증서의 빈자리를 메울'국민 인증서' 자리를 두고 경쟁이 치열해지고 있다. 기존 이동통신 3사와 함께 카카오, 네이버, NHN, 비바리퍼블리카, 금융사 등이 ...
- [IT 기프트] ㉖클래식 폴라로이드 SX-70의 변신, 민트의 '인스턴트콘 SF70'
- 지혜수 기자 2021.01.04
- [일요주간 = 지혜수 기자] 폴라로이드 즉석 필름 카메라 제조 브랜드 민크(Mint)는 클래식 폴라로이드 카메라 'SX-70'을 현대적으로 재해석한 '인스턴트콘(InstantKon) SF70' 카메라를 킥스타터 캠페인에 공개했다.민트 ...
- CES2021, 사상 첫 온라인 개최에 팝스타 공연 등 다수 이벤트 마련
- 지혜수 기자 2021.01.02
- [일요주간 = 지혜수 기자]세계 최대 전자·IT 전시회 'CES 2021'은사상 처음으로 온라인으로 진행되는 대신 유명 팝스타들의 무대 등 다양한 이벤트가 다수 마련된 것으로 알려졌다.2일 CES를 주관하는 미국소비자기술협회(CTA) ...
- SK텔레콤x서울시, 최초로 보신각 ‘제야의 종’ VR 선보여
- 이수근 기자 2020.12.31
- [일요주간 = 이수근 기자]SK텔레콤은 서울시와 함께 코로나19로 지친 국민들이 희망찬 새해를 맞이할 수 있도록, 최초로 보신각 타종을 VR로 선보인다.2021년 1월 1일 0시 새해를 여는 보신각 제야의 종소리는 VR(Virtual ...
- 남산예술센터 12년 역사, 디지털 아카이브로 구축
- 노현주 기자 2020.12.30
- [일요주간 = 노현주 기자]서울문화재단은 남산예술센터가 걸어온 12년의 역사를 한눈에 볼 수 있는 ‘남산예술센터 디지털 아카이브’를 오픈한다고 밝혔다.2009년 9월에 서울시 창작공간으로 문을 연 남산예술센터는그동안 창작자 발굴, 창 ...
- 과기부, 불법드론 막고 공공 주파수 9.13㎓폭 추가 공급 예정
- 노현주 기자 2020.12.29
- [일요주간 = 노현주 기자]과학기술정보통신부(이하과기정통부)는 29일 공공용 주파수 정책협의회를 열고'2021년 공공용 주파수 수급계획을 확정했다.이로써 내년 국방, 치안, 항공·해상 안전, 기후 관측 등 공공 목적으로 총 9.13㎓ ...
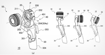
- 캐논, 핸드헬드형 렌즈 짐벌 카메라 특허 따내
- 지혜수 기자 2020.12.29
- [일요주간 = 지혜수 기자]캐논(Canon)이 DJI 오스모를 연상시키는 디자인과 RF 렌즈, 회전 힌지를 결합한 핸드헬드형 카메라를 특허 출원한 것이 알려지면서 화제가 되고 있다.캐논 전문 해외 사이트 캐논 뉴스(Canon News ...
- 삼성전자, 차원이 다른 프리미엄급 '마이크로 LED TV' 공개
- 이수근 기자 2020.12.29
- [일요주간 = 이수근 기자]삼성전자는처음으로 마이크로 LED를 적용한 상업용 디스플레이 ‘더 월(The Wall)’을 출시해 글로벌 B2B 시장에서 좋은 평가를 받고, 마이크로 LED 시장을 본격적으로 만들어 갈 방침이다.삼성전자는 ...
- 네이버 웹툰·웹소설 원작, 영화와 드라마로 대거 진출
- 최종문 기자 2020.12.28
- [일요주간 = 최종문 기자]네이버웹툰은 자사 웹툰과 웹소설을 원작으로 한 드라마·영화·애니메이션 등의 영상 작업 현황과 계획을 공개했다.최근 넷플릭스오리지널 시리즈로글로벌 누적 조회 수 12억뷰로 인기몰이 중인 ‘스위트홈’도 웹툰을 ...
- 7아티산, 라이카 M 카메라를 위한 팬케익 렌즈 선보여
- 지혜수 기자 2020.12.28
- [일요주간 = 지혜수 기자]중국 카메라 렌즈 제조 브랜드 7아티산(7Artisans)은 라이카 M 카메라를 위한 골드 버전의 '35mm f/5.6' 풀프레임 수동 초점 렌즈를 새롭께 선보였다.7아티산은 2015년 중국에서 설립된 렌즈 ...
- LG전자, 새로운 라이프 스타일에 알맞은 '인스타뷰 냉장고' 공개
- 이수근 기자 2020.12.28
- [일요주간 = 이수근 기자]LG전자는 미국 현지시간 2021년 1월 11일에 개막하는 CES 2021 전시회에서 디자인과 위생을 강화한 LG 인스타뷰(LG InstaView, 국내명: 노크온 매직스페이스) 냉장고 신제품을 공개할 예정 ...
- 에이수스, 투인원 노트북과 프리미엄 노트북 동시 선보여
- 노현주 기자 2020.12.28
- [일요주간 = 노현주 기자]글로벌 노트북 제조 브랜드인 에이수스(ASUS)는 최신 인텔 11세대 프로세서를 탑재한 13인치 투인원 노트북 2종 ‘젠북 플립 S UX371’·‘젠북 플립 UX363’, 프리미엄 노트북 ‘젠북 S UX39 ...
많이 본 기사
'성과급 중단·‘가족 경영’에 반기' 렉서스·도요타 노조 파업 돌입…사 측 "실적 기준에 미달·오너 장남 경영 능력 갖춰"
- 노동조합, 성과급 지급 중단·기본급 미달에 "더는 못 참아"…경영진 가족 수익 개입 의혹 제기 회사 측 "성과급, 올해는 실적이 기준에 미달해 미지급...장남은 일본 도요타 10년 근무 경력"